
公称通径DN20 ~ DN400
公称压力1.6 4.0 6.4MPa
工作温度-40~230°
法兰形式JB79-59
连接材料ZG25I、ZG1Cr18Ni9Ti、
概述:
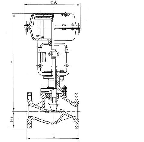
CV3000系列气动薄膜单座调节阀是一种顶导向单阀座调节阀,具 有结构简单、密封性能好、流量大、使用可靠等特点。有效而足够的顶部导向系统克服小开度时的震动,有效使用寿命更长。可选择多弹簧气动簿膜机构或电动执行机构等。
产品参数:
阀体按流体力学原理设计的等截面低流阻流道,额定流量系数增大30%。
可调节范围大,固有可调比为50,流量特性有直线和等百分比。
调节切断型采用软密封结构阀芯,达VI级泄漏标准(零泄漏)
阀体、阀盖:HT200,ZG230-450,ZG1Cr18Ni9Ti
阀芯、阀座:1Cr18Ni9Ti,司太莱合金堆焊
软密封阀芯:增强聚四氟乙烯
填料:聚四氟乙烯,柔性石墨
波纹管:1Cr18Ni9Ti
垫片:橡胶石棉板、10、1Cr18Ni9Ti、石棉缠绕垫片
膜盖:A3
波纹膜片:丁晴橡胶夹增强涤纶织物
弹簧:60SIMN
阀杆、推杆:2Cr13、1Cr18Ni9Ti
衬套:2Cr13


