
公称通径DN20 ~ DN600
公称压力1.6 4.0 6.4MPa
连接形式对夹式(管道法兰):JB79-59
法兰形式JB79-59
连接材料ZG25I、ZG1Cr18Ni9Ti、
概述:
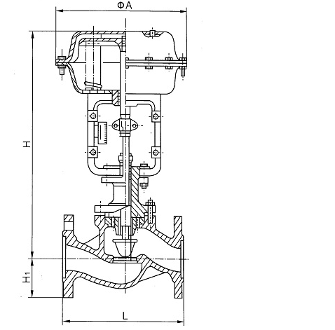
新系列气动薄膜直通单座调节阀采用顶导向结构,配用多弹簧执行机构。具有结构紧凑、重量轻、动作灵敏、充体通道呈S流线型、压降损失小、阀容量大、流量特性精确、拆装方便等优点。广泛应用于精确控制气体、液体等介质,工艺参数如压力、流量、温度、液位保持在给定值。特别适用于允许泄漏量小阀前后压差不大的工作场合。
本系列产品的标准型、调节切断型、波纹管密封型、夹套保温型等多种品种。产品公称压力等级有PN10、16、40、64;阀体口径范围DN20~200。适用流体温由-200℃~560℃范围内多种档次。泄漏量标准有IV级或VI级。流量特性为线性或等百分比。多种多样的品种规格可供选择。
产品参数:
阀体、阀盖:HT200,ZG230-450,ZG1Cr18Ni9Ti
阀芯、阀座:1Cr18Ni9Ti,司太莱合金堆焊
软密封阀芯:增强聚四氟乙烯
填料:聚四氟乙烯,柔性石墨
波纹管:1Cr18Ni9Ti
垫片:橡胶石棉板、10、1Cr18Ni9Ti、石棉缠绕垫片
膜盖:A3
波纹膜片:丁晴橡胶夹增强涤纶织物
弹簧:60SIMN
阀杆、推杆:2Cr13、1Cr18Ni9Ti
衬套:2Cr13

